Mass flowmeter installation instructions
1, sensors installed as shown, now do the following:
(1) the mass flowmeter is generally installed in horizontal pipe runs with the body straight down naturally. When installation, pay attention to the flow of flowmeter on the logo should be the same as the liquid in the pipeline flow, if the flow marks due to long-term use is not clear, can also be reference figure judging flow sensor: when the sensor cable socket on the back flow is from left to right.
(2) the flow meter should be installed in the line upstream and downstream of the fixed support frame;
(3) when installation to ensure that the flow meter of flange and pipe flange concentric, screw fixed bolt to ensure uniform multiple bolt stress, do not force the counterpoint, lest a table to produce torque or bending moment;
(4) flowmeter downstream piping needs to have certain back pressure, not directly in the open state, to prevent the liquid in the pipe can't filled with measured value is not correct;
(5) flowmeter must be out of the ground, also can't contact with other items;
(6) flowmeter upstream pipe size can be greater than or equal to the flow meter diameter, not less than;
(7) measuring easy gasification of liquid or cryogenic liquid, will flow meter sensor overall insulation protection, in order to prevent condensation or frost damage sensor;
(8)The measuring tube with air entrained gas or liquid, the produce measurement error, must try to avoid.
The serial number of sensor and transmitter to one to one correspondence, otherwise the error of measurement may be produced.

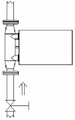
Horizontal line: main body downwards, measuring liquid, exports must be more than 0.8 metres high

Horizontal line: the subject up, since the emptying, measuring slurry,containing solid export must be higher than the meter high 0.8 meters

Vertical pipeline: flag type installation, since the emptying, measuring the liquid or slurry, the liquid must be from the bottom to upper
FIG. 3 sensor installation drawing
2, install environmental requirements
Mass flowmeter is a high precision measuring instrument, in order to ensure measurement accuracy, to ensure the installation of environmental requirements:
(1) sensor and transmitter shall not installed in the area of strong magnetic interference, otherwise it will influence the signal of circuit, which affect measurement accuracy;
(2) sensors installed pipe cannot have other vibration interference;
(3) the need to be installed outdoors, attention should be paid to the highest and the lowest environment temperature, should consider wind block rain, prevent the wind rain, in order to improve the working life of the meter;
Flow meter transducer output standard cable is 5 meters long. Cable is six core and two core shielded cable.
3, appearance

Sensor figure
4, transmitter operating instructions
Is the electrical part of the mass flowmeter in the transmitter, is the core of the control and display unit.
The flow transmitter on the front panel display window, turn key, the key, enter key, and press enter key simultaneously. There are two cables: a set of short plug connect with the cable end, into the sensor. Another group of six core and two long cable conductor, provided to the users.
5, flow meter transducer wiring instructions

Figure 5 meter transmitter inside the back cover wiring diagram
The flow transmitter inside the back cover as shown in figure 5, equipped with safety barrier and output wiring board. The blue on the safety gate terminal lead through a table of cables are connected to a table vibrator, displacement sensor and temperature sensor. Safety barrier is the output above patch panel.
Flow meter transducer output cable for six core of long cable and two core of RS485 communication cable, for the use of the user, as shown in figure. Are:
(1)Current loop output: channel 1 CURR1 output current (brown)
(2)Channel 2 CURR2 output current (green)
(3)Frequency output: the output channel 1 frequency F1 (blue)
(4)Current loop and the frequency output common ground: GND (yellow)
(5)Power supply: + 24 v (red)
(6)Power supply ground wire: GND2 (black)
(7)RS485 communication: A (red) B (black)
One current loop output and frequency output common ground, a single power supply ground wire, two ground don't confuse!

Flow meter wiring diagram




